欢迎来到三亿体育(中国)官方网站-三亿 SPORTS

您当前所在的位置:主页 > 产品中心 > 成套索具系列 >
COMPLETE SETS SERIES
成套索具系列

G100链条

G100链条

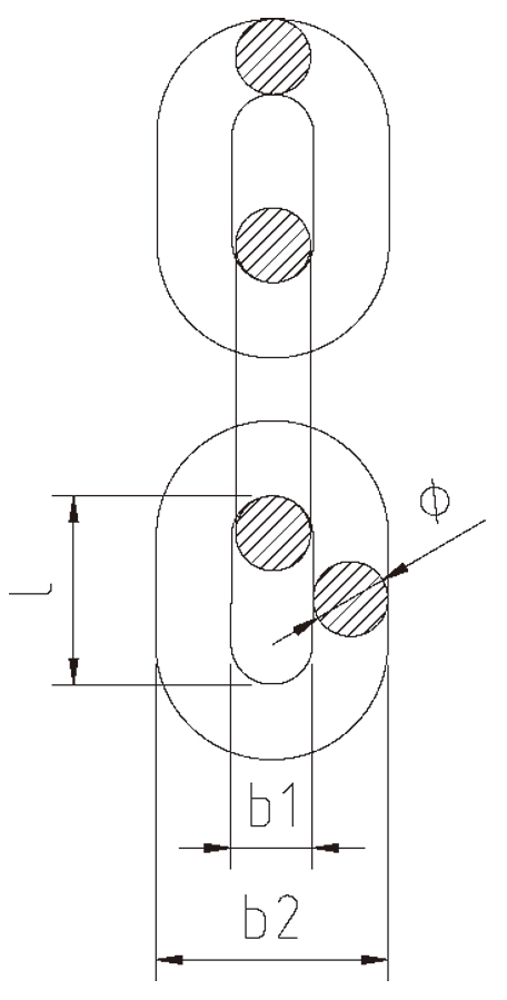
1、EN818-2标准起重链条。 2、在2.5倍工作拉力下进行验证测试。 3、破断拉力试工作拉力的4倍。 4、性能比80级链条提升25%。

全国咨询热线:

更多联系方式
-产品详情- -产品参数-
1、EN818-2标准起重链条。
2、在2.5倍工作拉力下进行验证测试。
3、破断拉力试工作拉力的4倍。
4、性能比80级链条提升25%。

产品参数

相关产品

创造客户价值 助力客户成功

三亿体育(中国)官方网站-三亿 SPORTS凭借着高新的技术、优异的品质及良好的服务赢得了客户点赞,在国内外众多企业大放异彩!

COPYRIGHT© 三亿体育(中国)官方网站-三亿 SPORTS ALL RIGHTS RESERVED