欢迎来到三亿体育(中国)官方网站-三亿 SPORTS

您当前所在的位置:主页 > 产品中心 > 滑车系列 >
PULLEY SERIES
滑车系列

双轮吊环滑车

双轮吊环滑车

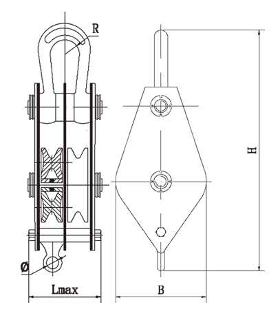
1、吊钩特点:优质合金钢模锻而成,3倍安全系数。 2、滑轮:铸铁滑轮、铸钢滑轮、热轧滑轮。 3、滑轮套芯:复合耐磨铜套、纯铜套、滚珠轴承、滚针轴承。 4、其他吨位可以定做。

全国咨询热线:

更多联系方式
-产品详情- -产品参数-
1、吊钩特点:优质合金钢模锻而成,3倍安全系数。
2、滑轮:铸铁滑轮、铸钢滑轮、热轧滑轮。
3、滑轮套芯:复合耐磨铜套、纯铜套、滚珠轴承、滚针轴承。
4、其他吨位可以定做。

产品参数

相关产品

创造客户价值 助力客户成功

三亿体育(中国)官方网站-三亿 SPORTS凭借着高新的技术、优异的品质及良好的服务赢得了客户点赞,在国内外众多企业大放异彩!

COPYRIGHT© 三亿体育(中国)官方网站-三亿 SPORTS ALL RIGHTS RESERVED